· blog · Lecture 7 min
Normes pour aménager un restaurant : ce qu'il Faut Savoir !
Découvrez toutes les normes essentielles à connaître pour aménager votre restaurant. De la sécurité incendie à l'accessibilité PMR en passant par les normes HACCP, nous vous guidons à travers les réglementations nécessaires pour assurer le bon fonctionnement et la sécurité de votre établissement.

Lors de la création ou de la rénovation d’un restaurant, il est impératif de prendre en compte diverses normes d’aménagement. Ces normes sont cruciales non seulement pour le bon fonctionnement de l’établissement, mais aussi pour assurer la sécurité du public. Dans cette perspective, examinons de manière approfondie les différentes normes applicables.
Les normes ERP :
En tant qu’établissement recevant du public, le restaurant doit se conformer à des normes spécifiques pour garantir la sécurité des clients et du personnel. Lorsque des travaux d’aménagement sont envisagés, il est nécessaire de déposer un dossier de demande d’autorisation de construire, d’aménager ou de modifier un ERP. Il s’agit d’une étape cruciale pour rester en conformité avec la réglementation en vigueur. (Vous avez besoin d’aide pour monter votre dossier, n’hésitez pas à nous contacter.(lien vers formulaire de contact))
En fonction de l’effectif du public qui peut être accueilli les applications exigées ne seront pas les mêmes. Commencez donc par connaitre votre capacité d’accueil en calculant l’effectif de votre établissement :
| Espaces réservés au public | Mode de calcul |
|---|---|
| Zones à restauration assise | 1 personne / m² ou sur déclaration 1 personne / 2m² |
| Zones à restauration debout | 2 personnes / m² |
| Files d’attente | 3 personnes / m² |
La capacité d’accueil de l’établissement est un facteur déterminant dans l’application des normes. Différents espaces réservés au public, tels que les zones à restauration assise, les zones à restauration debout et les files d’attente, ont des modes de calcul spécifiques en fonction du nombre de personnes qu’ils peuvent accueillir. Il est essentiel de connaître et de respecter ces normes pour assurer une circulation fluide et sécurisée des clients.
Les Normes Incendie :
La sécurité incendie est une préoccupation majeure dans tout établissement recevant du public, et les restaurants ne font pas exception. Plusieurs mesures doivent être prises pour prévenir les incendies et assurer l’évacuation sécurisée en cas d’urgence. Parmi ces mesures, on trouve l’accessibilité des secours, la sélection de matériaux résistants au feu et l’identification claire des sorties et des entrées. Un tableau de résistance au feu des matériaux est établi, classifiant les matériaux en fonction de leur combustibilité, de leur inflammabilité et de leur résistance au feu. Les sols, les murs et le mobilier doivent être conformes à ces classifications pour minimiser les risques d’incendie et assurer la sécurité des occupants.
Tableau de résistance au feu des matériaux :
| Classification | Euroclasses | Combustibilité | Inflammabilité | Exemples |
|---|---|---|---|---|
| M0 | A1 et A2 | Incombustible | Ininflammable | Pierre, brique, ciment, ardoise, verre, béton |
| M1 | A2 et B | Combustible | Non inflammable | PVC, polyester, coton, bois ignifugé, dalles minérales |
| M2 | C | Combustible | Difficilement inflammable | Moquette murale, panneau de particules |
| M3 | D | Combustible | Moyennement inflammable | Bois, sol caoutchouc, moquette polyamide, laine |
| M4 | - | Combustible | Facilement inflammable | Papier, polypropylène, tapis |
L’installation de moyens d’extinction des feux, d’alerte et d’accès aux locaux par les secours est également soumise à des normes spécifiques. L’intervention d’un professionnel expérimenté est souvent recommandée pour garantir le respect de ces normes cruciales en matière de sécurité incendie.
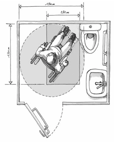
Les Normes PMR (Personnes à Mobilité Réduite) :
Un autre aspect essentiel des normes d’aménagement concerne l’accessibilité des établissements aux personnes à mobilité réduite (PMR). Les restaurants doivent mettre en place des dispositifs facilitant l’accès, tels que des rampes conformes aux normes, des portes adaptées au passage des fauteuils roulants, et un éclairage prenant en compte les handicaps visuels. Les banques d’accueil, les caisses de paiement et l’ensemble du mobilier destiné au public doivent également être conçus de manière à être accessibles aux personnes à mobilité réduite. Les circulations intérieures doivent être pensées pour permettre le passage aisé des fauteuils roulants, et au moins un des sanitaires de l’établissement doit être adapté pour répondre aux besoins spécifiques des PMR.

Il est impératif de se renseigner sur les normes applicables en fonction du type d’établissement pour assurer une accessibilité optimale à tous les clients.
Les Normes HACCP :
Les normes HACCP sont les normes qui régissent le secteur de la restauration, elles préservent l’hygiène dans un restaurant. Il est essentiel de les prendre en compte lors de l’aménagement des espaces. L’objectif de ces normes est de garantir la sécurité alimentaire en identifiant et en maîtrisant les points critiques liés à la sécurité dans le processus de production alimentaire.

Voici quelques aspects clés à prendre en compte lors de l’aménagement d’un restaurant conformément aux normes HACCP :
- Zones de préparation et de plonge : Les espaces de préparation des aliments et les zones de plonge doivent être clairement délimités pour éviter toute contamination croisée. Il est essentiel de concevoir un agencement qui minimise les risques de contact entre les zones propres et les zones potentiellement contaminées.
- Local poubelle : L’agencement sera étudié afin de ne pas avoir à traverser la cuisine ou le commerce pour accéder au local poubelle qui sera isolé du reste de l’espace.
- Séparation des sanitaires : Les normes HACCP imposent une séparation claire entre les zones de production alimentaire et les sanitaires. Cela garantit que les employés ne traversent pas des zones potentiellement contaminées pour accéder aux toilettes.
- Équipements ppropriés : Les équipements de cuisine, tels que les réfrigérateurs, les congélateurs et les fours, doivent être sélectionnés en fonction des normes de sécurité alimentaire. Le respect de ces normes garantit que les équipements ne compromettent pas la qualité sanitaire des aliments.
- Marche en Avant : L’établissement d’une marche en avant dans le processus de production, du stockage à la préparation, est une pratique courante dans la mise en œuvre des normes HACCP. Cela garantit une séparation claire entre les différentes étapes, réduisant ainsi les risques de contamination.
Spécificités des Grandes Cuisines :
Les grandes cuisines, définies par une puissance cumulée des appareils de cuisson et de remise en température dépassant 20 kW, sont soumises à des réglementations spécifiques. Lorsque la cuisine est ouverte, des exigences supplémentaires s’appliquent pour assurer la sécurité des lieux.
Voici quelques exemples :
- Écran vertical : Si la cuisine est ouverte, un écran vertical fixe stable au feu d’au moins 50 cm de haut est requis. Cela vise à prévenir la propagation éventuelle d’un incendie depuis la cuisine vers les autres zones du restaurant.
- Matériaux : Les matériaux utilisés dans la construction des murs, hottes et gaines doivent répondre aux classifications au feu spécifiques à ce type de locaux. Cela garantit une protection adéquate contre les risques liés à la cuisson et aux équipements de cuisine.
- Dispositif d’extinction des feux d’huile : À proximité des friteuses, un dispositif d’extinction des feux d’huile doit être installé. Cela contribue à minimiser les risques d’incendie liés à la cuisson à haute température.
L’aménagement d’un restaurant, qu’il s’agisse d’une petite structure ou d’une grande cuisine industrielle, nécessite une compréhension approfondie des normes HACCP et des réglementations spécifiques applicables.
Conclusion :
En conclusion, respecter les normes d’aménagement d’un restaurant, qu’elles soient liées aux ERP, à la sécurité incendie, à l’accessibilité PMR, aux normes HACCP ou aux spécificités des grandes cuisines, est essentiel pour plusieurs raisons.
- Sécurité du public : Les normes ERP et incendies visent à assurer la sécurité du public. Des sorties clairement identifiées, des matériaux résistants au feu, et des dispositifs d’extinction adéquats contribuent à minimiser les risques d’incidents et à garantir l’évacuation sécurisée en cas d’urgence.
- Accessibilité : Les normes PMR garantissent que les personnes à mobilité réduite peuvent accéder au restaurant et bénéficier de tous les services offerts. Cela favorise l’inclusivité et le respect des droits fondamentaux de chacun.
- Hygiène alimentaire : Les normes HACCP sont cruciales pour assurer la sécurité alimentaire. En respectant ces normes, l’aménagement de la cuisine est conçu de manière à minimiser les risques de contamination et à garantir des pratiques hygiéniques tout au long du processus de production alimentaire.
- Conformité juridique : Le non-respect de ces normes peut entraîner des sanctions légales et la fermeture du restaurant. Il est donc impératif de se conformer aux réglementations en vigueur pour éviter des conséquences préjudiciables.
